中部首个!科技金融大模型正式上线,构筑“线上+线下”双轮驱动新格局
来源:本站
|
记者:本站编辑
|
发布时间 :2025-10-17
|
377 次浏览:
|
🔊 点击朗读正文
❚❚
▶
|
分享到:
10月16日,,在“2025郑州软件产业高质量发展系列对接活动——软件领域暨‘人工智能+’产融对接活动”上,中部地区首个聚焦于科技金融垂直领域的大模型平台——中原科技金融中心正式发布。该平台由河南中汇科创(科技金融广场运营方)打造,不仅是科技金融广场深化“线下基地+线上平台”双轮驱动战略的关键一步,更标志着其在推动科技与金融深度融合方面迈入崭新阶段。

线上+线下,打造科技金融全天候“超级助手”
“中原科技金融中心”大模型并非从零构建,而是植根于科技金融广场多年来在线下构建的服务生态,与AI技术深度融合,致力于打造“永不落幕、智慧精准”的科创金融“超级助手”。
_YGVezX.jpg)
在线下,科技金融广场作为实体服务平台,已构建成熟的“概念验证中心+天使投资+创业训练营+全过程FA与“金融副总”陪跑”服务体系,提供从0到IPO的一站式服务;在线上,大模型作为服务能力的延伸与增强,为科创企业提供7×24小时的AI商业计划书(BP)生成、AI智能估值、AI融资匹配推荐,为政府提供项目筛选,政策评估,产业图谱,为创投机构提供AI尽调辅助,AI企业诊断,AI科创问答等服务,实现“线下服务线上化、线上智能落地化”的双向赋能。
“中原科技金融中心不仅是线上平台的升级,更是科技金融服务模式的整体跃迁。”科技金融广场总经理王春晓表示,“通过 ‘线上智能推荐+线下金融副总’的模式,企业在线获得初步诊断与融资推荐后,可无缝衔接至科技金融广场的线下专业团队,由‘金融副总’提供一对一的深度陪伴与精准匹配,享受融资对接、法律咨询、项目路演等一站式深度服务,形成‘线上筛项目、线下做尽调、全程有陪伴’的高效机制,让科技金融服务更加精准、高效。”
作为垂直领域的大模型平台,“中原科技金融中心”聚焦科技企业成长全周期与金融服务全流程。该平台集成企业库、创投基金资源、行业研报、融资数据、会议服务等多维功能模块,通过深度学习政策文件、企业数据与创投基金信息,构建起懂科技、懂金融、懂政策的“超级顾问”能力,致力于为河南省乃至全国的科创企业提供从0到IPO全生命周期一站式服务。
创投基金地图

可视化呈现全国主流创投基金的分布情况、投资偏好与阶段标签,支持按地域、赛道、投资阶段进行筛选,帮助科技企业精准定位“对的资本”,并展示近五年河南省新增备案基金数量及规模、股权融资趋势以及舆情监控。
行业研报库
_k8KN05.png)
提供专题研究报告,包括基金入豫蓝皮书、产业政策研究报告、创投基金投资报告及科创金融研究报告,为决策提供深度洞察与数据支持。
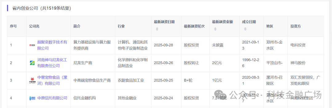
河南科创企业全景库
_vuKUEZ.png)
_5q1hQw.png)
系统收录省内1519家近五年获得融资且有融资意向的创新企业信息,涵盖发展阶段、融资历程、技术领域等关键维度,为创投基金提供优质项目线索与产业研究支持。
实时更新在审企业IPO进程与关键节点,结合大模型对审核政策与关键节点的语义解析,辅助投资决策与政策研判。
基于大模型生成企业画像与投资价值报告,实现融资需求与机构偏好的深度匹配,构建从“识别-评估-对接”的全链路智能化融资服务。
聚合全国路演、培训及行业会议信息,打造“永不落幕的路演平台”。
.png)
.png)
中原科技金融大模型的上线,是落实河南省“创新驱动、科教兴省”战略的具体实践。平台不仅为政府提供“区域产业发展的数字驾驶舱”,也为投资机构打造“募投管退”数字工具箱,同时陪伴科技企业成长,扮演“专属资本合伙人”角色。
未来,郑州科技金融广场将持续迭代AI能力、拓展数据应用,引入更多创新服务模式,助力郑州打造中部科创金融新高地,为区域经济高质量发展注入新动能。
即日起,用户可通过微信搜索“中原科技金融中心”小程序或访问官方网站(https://jinrongkeji.net/)免费注册使用。平台面向科技企业、创投基金及相关政府单位免费开放,旨在让“科创不缺钱,资本不缺项目”在河南成为新常态。(来源:科技金融广场)